Bore Gauge for Measuring Small Diameter Holes
Innovator K. D. Gusev proposed a design for an indicator bore gauge for measuring small diameter holes, allowing for inspection in any cross-section along the entire length of the hole. K. D. Gusev's bore gauge differs from existing designs by the absence of hinge joints, allowing the innovator to create a device capable of inspecting holes as small as 3 mm in diameter.
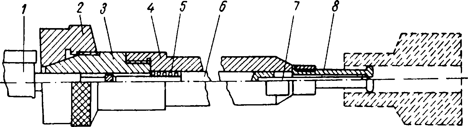
Indicator 1 is secured with a special nut 2 in housing 3, onto which tube 4 is screwed. Tube 4 accommodates rod 6 with a replaceable needle 7 inserted into it. A replaceable double-leaf collet 8 is screwed into the front end of the tube. Spring 5, resting on one end of housing 3 and the other on the end of rod 6, tends to move needle 7 to the right. The conical end of the collet rests on the end of the recess in collet 8, pushing its petals apart. When the collet petals are compressed, the inner end of its recess acts on the cone of needle 7, shifting it to the left.
The end of the rod, which contacts the ball of indicator tip 1, moves the indicator rod. The magnitude of this movement is determined by the deflection of the indicator pointer. If the needle cone angle is 53°08', the indicator pointer reading will correspond to the change in bore diameter. If the needle cone angle is 28°04', the indicator pointer reading will be twice this value. In this case, using an indicator with a division value of 0.01 mm, it is possible to read bore diameter deviations of 0.005 mm, which corresponds to one division of the indicator scale.
When setting up the bore gauge, a collet and needle corresponding to the bore diameter being measured are selected and mounted on the instrument. The collet is inserted into the bore of the reference ring, and the zero mark on the indicator scale is aligned with the pointer (the bore gauge can also be adjusted using a micrometer).
When inspecting the part, the collet is lightly compressed with your fingers and its blades are inserted into the bore. By moving the bore gauge along the bore axis and rotating it, you can determine whether the bore shape and diameter deviate from the specified geometry.
If you need to inspect a large batch of small parts (such as bushings), the bore gauge can be mounted on a stand. In this case, it is not the bore gauge that moves during the measurement, but the part itself.
Instruments for inspecting parts in hard-to-reach places. Such inspection is difficult, and often impossible, with standard tools. For example, when manufacturing parts with narrow grooves and recesses, it is necessary to check the parallelism of the groove or recess plane relative to the reference plane. In these cases, special templates are made. However, there are parts with such configurations that even the use of templates does not ensure adequate inspection.
***
